



熱門資訊
聯系我們
			
			上海沁艾機械設備有限公司
聯系人:李先生
手  機:17602111432
電  話:021-67320228
傳  真:021-67320228
郵  箱:shqinai@sina.cn
地  址:上海市金山區朱涇工業區鴻尊路369號
			
		在皮帶輸送機設備中,其結構主要包括機架,原動機,傳動滾筒,從動滾筒,托輥,輸送帶,由傳動滾筒和從動滾筒將輸送帶撐緊并帶動其轉動而將物品自一端輸送至另一端。這種輸送機為固定長度,不能調節,并多為固定式,搬動比較困難。長距離時雖可幾臺聯合使用,但改變組合形式很不易,且每臺均需接有動力電源, 對于工作面大,需常改變裝貨或卻貨地點位置時,使用來十分不便。

輸送機傳送單元視圖
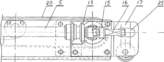
為了解決以上問題可以使用單一動力并能方便的改變輸送距離和方向的組合式皮帶輸送機得以實現,其具體技術實施方案為:組合式皮帶輸送機主要包括:防滑輸送 帶、傳動滾筒、從動滾筒、托輥,還具有動力和輸送單元,動力單元設有座架,由原動機帶動的傳動付,輸出給萬向節和陰插接件;還包括連接動力和輸送單元的連 接軸,在動力機與傳動付之間設置有減速器用以調整速度。輸送單元包括機架、機架的一端配置有主動輥,一端為從動輥,中間有托輥,將輸送皮帶繞于輥筒之外。
當場地大,輸送距離遠功率不夠時,可以采用數個輸送單元,其數量則視場地、距離而定。輸送單元之間用連接銷相連接,主動力由動力單元提供并由各輸送單元的傳動軸依次傳至各單元的主動輥上。
    在機架上可旋轉的傳動軸一端有陽插接件和輸入萬向節,當動力單元與所需數量的輸送單元串接時,原動機使傳動軸而帶動各個主動輥轉動從而使輸送皮帶運動。由 于長的連接孔,使各輸送單元可以調整仰角和平面轉角,且只用一個動力,各單元之間的連接也十分方便,組合后的動力即可形成一整體,并可使調速實現單一化, 故可滿足場地變化、輸送距離、地點改變等不同的工況要求。
    

皮帶輸送機動力單元視圖
采用以上創新結構的組合式皮帶輸送機,操作起來十分方便,不需接多條電線或多個動力源,組合后的動力即可傳遞?筛鶕枰唵蔚恼{速和改變輸送機的仰角、俯角與平面轉角,即可適應地形的需要,并且連接后的輸送單元間能保證牢固的連接、不會錯位,從真正意義上滿足了不同的作業場合的需要。